Accessories
clamping flange components ISO-K
electrical feedthroughs
small flange components KF
UHV vacuum components CF
Vacuum optimized Screws
vacuum valves KF/ISO-K/CF
Viewports and Glass Elements
The company
Join us
Express order
My account
Go to checkout
My basket
No items
Product Selection
» Accessories
» UHV vacuum components CF
» Vacuum optimized Screws
» Viewports and Glass Elements
» clamping flange components ISO-K
» electrical feedthroughs
» small flange components KF
» vacuum valves KF/ISO-K/CF
Special parts
Contact
News
0
Shop
»
small flange components KF
»
Feedthroughs
»
universal thermocouple feedthrough stainless steel
« go to overview
«
previous item
next item
»
Adapter
Clamping ring
Feedthroughs
squeeze connection brass nickel-plated
squeeze connection stainless steel
thermocouple feedthrough brass nickel-plated
thermocouple feedthrough stainless steel
universal thermocouple feedthrough brass nickel-plated
universal thermocouple feedthrough stainless steel
idler chain
Joint components
Nail clamp
Protecting caps
Sealing components
Sealing components for Small flange screw brass nickel-plated
Sealing components for Small flange screw SST
Small flange branching
Small flange components
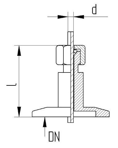
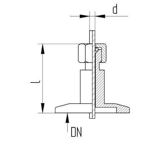
Small flange universal thermocouple feedthrough stainless steel DN 16 1-fold Ø1mm-Ø3,2mm h=37
35,70 EUR
plus 19% VAT | plus
Shipping costs
Item no.:
1772
Delivery time:
stock is available
Make a enquiry
Questions regarding the item
Print item (PDF)
Description
Download Step-CAD-File
Category: Kleinflanschbauteile KF,Durchführungen,Universalthermoelementdurchführung Edelstahl
KF Universalthermoelem. VA NW 16 1-fach Ø1mm-Ø3,2mm h=37
Specialist advice hotline
M. Sc. Wirt.- Ing.
Mr. Julian Pfaff
Sales engineer
Tel.: +49 174 6583 960
j.pfaff@novotek.de
Herr Simon Ulmer
Sales construction
Tel.: +49 7159-8056 917
s.ulmer@novotek.de
Mon. - Fri.:
07:00 - 12:00
13:00 - 16:00
E-mail
Go to contact form